애플이 최근 포르쉐(Porsche) 섀시 개발 책임자를 영입했다. 이는 애플이 자율주행차량 개발 ‘프로젝트 타이탄’(Project Titan)에 가속도를 내고 있는 것으로 해석된다.이를 3일(현지시각) 처음 보도한 비즈니스인사이더 도이칠란트(Business Insider Deutschland)에 따르면 만프레드 해러(Manfred Harrer) 전 포르쉐 섀시 개발 담당 부사장을 지난해 말 비밀리에 영입한 것으로 알려졌다.프로젝트 타이탄 관련에서는 지난 1월 중순 “애플 자율차를 현대자동차가...
한인 과학자가 이끄는 연구팀이 스마트폰 현미경을 사용해 타액 샘플을 분석, 코로나 19(COVID-19) 감염 여부를 10분 안에 확인할 수 있는 기술을 개발하고 있다.애리조나대학 의생명공학과 윤정열 교수가 이끄는 연구팀이 개발한 검사법은 기존 ‘신속 유전자증폭(리얼타임 PCR)’ 검사와 같은 속도와 정확도를 목표로 하고 있다.원래 연구팀이 2019년에 처음 개발한 스마트폰 현미경 검사법(논문명: Smartphone-Based Paper...
미국이 인공지능(AI) 선두 주자로 전 세계 시장을 주도하는 가운데 중국이 빠르게 성장하며 선두 자리를 노리고 있다. 반면 유럽연합(EU)은 여전히 뒤처지고 있다는 연구 보고서가 나왔다.미국 정보기술혁신재단(ITIF, Information Technology and Innovation Foundation)이 25일(현지시각) 발간한 보고서는 관련 전문가, 연구 활동, 상업적 개발, 하드웨어 및 소프트웨어에 대한 투자를 포함한 30개 측정 항목으로 AI 현황을...
중국 티베트 고원 빙하에서 약 1만 5000년 전 바이러스 30개 이상이 발견됐다. 그런데 빙하 샘플에서 발견된 33종 중 28종은 지금까지 발견된 적이 없는 바이러스였다. 미국과 중국 공동 연구진은 중국 북서부 티베트 고원을 1992년과 2015년에 방문해 굴리아 빙한(Guliya Glacier)로 불리는 얼음 덩어리를 50m 깊이로 뚫고 샘플 2개를 채취했다. 채취된 2개 샘플...
호흡이나 타액으로 코로나 19 (COVID-19) 감염 여부를 실시간으로 색이 변하는 웨어러블 센서로 확인할 수 있는 기술이 개발됐다.UC 샌디에고 연구원들이 개발한 이 스트립은 모든 마스크에 부착할 수 있다. 원리는 바이러스 감염으로 인해 생성된 단백질과 펩티드결합을 가수분해하는 효소인 ‘프로테아제’ (protease) 분자를 감지한다.감염된 마스크 사용자가 호흡할 때 사스-CoV-2 단백질을 포함한 입자가 스트립에...
IT 리더 40% 이상이 2030년까지 인공지능(AI)에 일자리를 빼앗긴다고 예상하고 있는 것으로 나타났다컴퓨터 백신 프로그램 ‘바이러스 버스터’ 시리즈로 알려진 보안기업 트렌드 마이크로(Trend Micro) 조사에 따르면, IT분야 리더와 최고 정보책임자(CIO), 최고 기술책임자 (CTO) 등 관련 전문가 500명에게 사이버 보안 분야 미래를 물은 결과 41%가 “향후 10년 이내에 AI에 일을 빼앗길 것으로...
인공지능(AI) 데이터양이 기하급수적으로 늘고 있는 가운데 전자 기반 하드웨어는 데이터 처리에 있어 병목현상을 보이고 있다. 최근 호주 스윈번 공과대학(Swinburne University of Technology)이 이끄는 국제 연구팀이 초당 11조회(TeraOPs/s) 이상 초고속 처리가 가능한 세계에서 가장 빠르고 강력한 인공지능(AI) 광학 뉴로모픽 프로세서를 개발했다. 이는 현재 신경망 처리 하드웨어에 있어 엄청난 도약이다.연구 결과(논문명: 11...
일론 머스크 등이 설립한 인공지능 연구소 오픈에이아이(OpenAI)가 텍스트를 보고 이미지를 창작해 그릴 수 있는 새로운 AI 모델 달·리(DALL·E)를 5일(현지시각) 공식 블로그를 통해 공개했다. 극강 자연어처리(NLP) GPT-3 자기회귀 언어모델에 컴퓨터 비전 기술을 결합한 새로운 모듈 DALL·E는 부자연스러운 텍스트를 입력해도 그에 대응하는 이미지를 창조해 낸다.DALL·E는 에스파냐 초현실주의 화가 살바도르 달리(Salvador Dalí)와 픽사(Pixar)...
전기자동차 주행거리를 1000km 이상으로 늘릴 수 있는 리튬-황 배터리(Lithium-Sulfur Battery)를 호주 모나쉬대학(Monash University) 연구팀이 개발했다. 리튬-황 배터리는 기존 리튬-이온 배터리(Lithium-Ion Battery)보다 5배 이상 성능이다. 가령 스마트폰 경우 한번 충전에 약 5일간 사용 가능하다. 연구 결과는 국제학술지 '사이언스 어드밴스'에 논문명 ‘리튬-황 전지의 초고부하 황음극의 안정적인 사이클링을 위한 팽창강성 구조(Expansion-tolerant architectures for stable...
온라인 쇼핑 업계의 가장 큰 리스크 중 하나는 반품이다. 소비자가 막상 상품을 받아보면 생각한 것과 다르기 때문이다.하지만 앞으로 2~3년 내 모든 스마트기기에 3차원 탑재돼 스마트폰이나 PC, TV에서 상품을 3차원으로 보고 만지고 느끼며 구매할 수 있는 기술이 등장한다. 따라서 그만큼 반품이 적어질 뿐만 아니라 소비자 구매 만족도 또한 올라간다는 얘기다. 상상만...
IBM이 최근 암호화된 데이터 자체를 분석할 수 있는 완전동형암호(FHE, Fully Homomorphic Encryption)' 기술 시험 서비스를 최근 발표했다.IBM 리서치와 IBM Z에서 개발한 새로운 FHE는 클라우드 또는 타사 환경에서 데이터가 암호화된 상태에서 처리하거나 분석할 수 있도록 설계된 새로운 기술이다. 동형암호 기술은 4세대 암호 기술로 기존 암호화 방법과 달리 암호화 상태에서 데이터를 결합하고,...
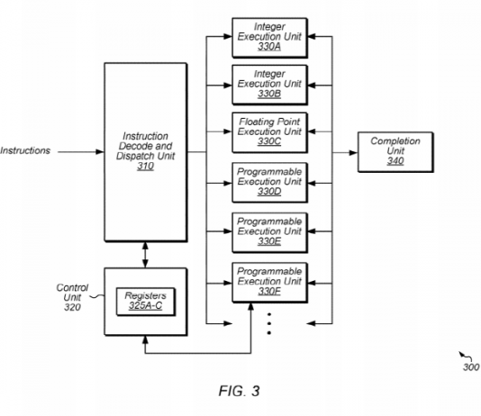
AMD는 구매자가 직접 회로 구성을 변경할 수 있는 비메모리 반도체 FPGA(Field Programmable Gate Array)와 CPU를 통합한 하이브리드 프로세서 특허를 2020년 12월 31일(현지시각) 출원했다. FPGA는 프로그램이 가능한 비메모리 반도체의 일종으로 회로 변경이 불가능한 일반 반도체와 달리 용도에 맞게 회로를 다시 새겨 넣을 수 있다. 현재 분야별로 AI 알고리즘도 다르고, 기능도 제각각이다. 따라서...
























![[보고서] 딥씨크 출현과 한국 AI 미래전략](http://www.itnews.or.kr/wp-content/uploads/2025/02/7-218x150.png)

![[2024 애플 동향] ③ 애플카 ‘프로젝트 타이탄’의 실패 원인](http://www.itnews.or.kr/wp-content/uploads/2024/03/1-2-218x150.png)
![[2024 애플 동향] ② 애플카 ‘프로젝트 타이탄’ 10년간 의 여정](http://www.itnews.or.kr/wp-content/uploads/2024/03/4-218x150.png)
![[2024 애플 동향] ① 애플 프로젝트 타이탄’ 종료](http://www.itnews.or.kr/wp-content/uploads/2024/03/Midjourney-218x150.png)









![[이슈] “2~3년 내 3차원 기술 실현된다”](http://www.itnews.or.kr/wp-content/uploads/2019/04/p1065595535459278_736_thum-534x382.jpg)


